| নং | শিরোনাম | সেবার ধাপ | কার্যকলাপ |
|---|---|---|---|
| | |||
| ১ | সার ডিলার নিয়োগ | দেখুন | |
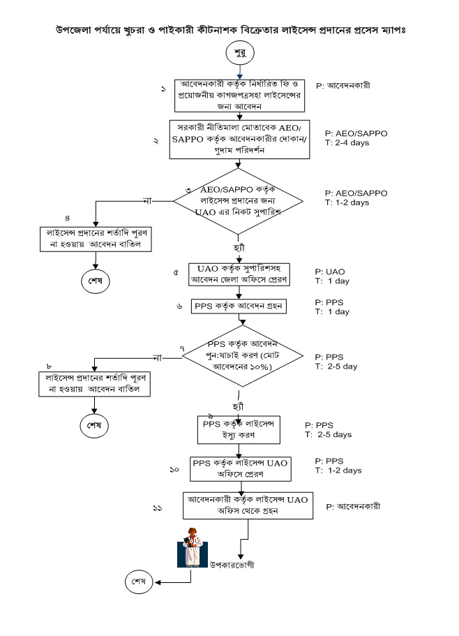
| ২ | কীটনাশক লাইসেন্স | দেখুন | |
| ৩ | ফসলের জাত | দেখুন | |
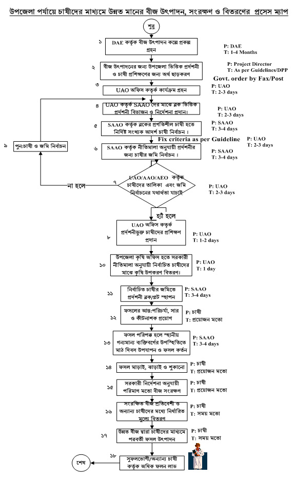
| ৪ | বীজ উৎপাদন সংরক্ষণ ও বিতরণ | দেখুন | |
| ৫ | সমন্বিত ফসল ও বালাই ব্যবস্থাপনা | দেখুন | |
| ৬ | মাটির স্বাস্থ্য ব্যবস্থাপনা | দেখুন | |
| ৭ | প্রশিক্ষণ | দেখুন | |
| ৮ | জৈবিক পদ্ধতিতে শবজি উৎপাদন | দেখুন | |
| ৯ | গর্ত পদ্ধতি কম্পোস্ট উৎপাদন | দেখুন | |
| ১০ | কৃষি ভর্তুকি | দেখুন |